欣旺达中报净利超2.2亿元 下半年动力电池业务将逐步达产
欣旺达现2GWH电芯生产线已于6月开始投产,下半年随着客户订单的持续导入和产能的逐步释放,动力电池业务将会逐步达产并产生效益。...
2018年09月12日
欣旺达现2GWH电芯生产线已于6月开始投产,下半年随着客户订单的持续导入和产能的逐步释放,动力电池业务将会逐步达产并产生效益。...
2018年09月12日
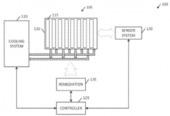
与大型汽车制造商们在电动车上使用数百个大型电池芯不同,特斯拉使用的是数千个小型电池芯。此类电池芯,如大型电池芯一样,因能量输入和输出,需要避免发烫。...
2018年09月12日
9月11日晚间,美锦能源发布公告,控股子公司飞驰汽车于10日与马来西亚砂拉越经济发展公司(SEDC)就氢燃料电池客车的供应和交付签署谅解备忘录。...
2018年09月12日
快狗打车App创始人兼董事长陈小华表示,企业未来两个季度将在12个城市投入10000辆新能源货车助力绿色出行,同时还会与菜鸟物流在新能源运力方面展开深度合作。...
2018年09月11日
孚能科技(赣州市与法拉塞斯新能源(美国法拉塞斯新能源有限公司(Farasis Energy)合资企业)宣布,其C轮融资已完成,并筹得了10亿多美元的资金。筹得的资金将用于加...
2018年09月11日
有汽车证券分析人士对记者表示,马斯克总是能够在股票、可转换债券和普通债券市场上自由切换,斩获令行业友商艳羡的融资额和收益,同时准确把握投资者的心理预期...
2018年09月11日
目前,有几家电池制造商主导了全球电动车电池生产。其中之一就是韩国LG化学公司(LG Chem),该公司为几乎所有汽车制造商提供电池。据外媒报道,最新消息显示,LG化...
2018年09月10日
2018年9月7日,飞驰汽车收到广东省佛山市工商行政管理局下发的《核准变更登记通知书》,公司受让佛汽集团持有的飞驰汽车15%股权已完成过户交割。至此,公司拥有飞驰...
2018年09月08日